گاما رو نصب کن!

{{ number }}
اعلان ها
اعلان جدیدی وجود ندارد!
کاربر جدید

جستجو

پربازدیدها: #{{ tag.title }}

میتونی لایو بذاری!
  فرم معتبر نیست.

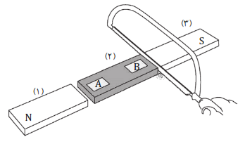
علی یک آهنربای میله‌ای را مطابق شکل زیر به سه قسمت تقسیم کرده است. دربارهٔ سه قطعهٔ جدید کدام گزینه صحیح است؟

1 ) 

قطعه‌های (1) و (3)، هر کدام آهنربایی با دو قطب N و S هستند اما <div>قطعهٔ (2) آهنربا نیست.</div>

2 ) 

قطعهٔ (1) قطب N و قطعهٔ (3) قطب S اسـت، اما قطعهٔ (2) خـواص مغناطیسی ندارد.

3 )  قطعهٔ (2) آهنربا است. در محل A قطب N و در محل B قط‍ب S تشکیل می‌شود.

4 ) 

قطعهٔ (2) آهنربا است. در محل A قطب S و در محل B قطب N تشکیل می‌شود.

تحلیل ویدئویی تست

منتظریم اولین نفر تحلیلش کنه!

محمدرضا غفارزاده