گاما رو نصب کن!

{{ number }}
اعلان ها
اعلان جدیدی وجود ندارد!
کاربر جدید

جستجو

پربازدیدها: #{{ tag.title }}

میتونی لایو بذاری!

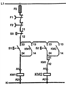
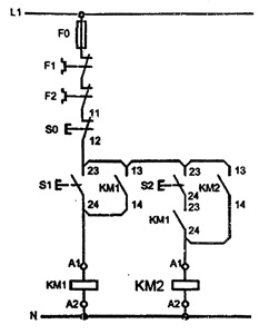
اگر راه‌­اندازی موتور M2 وابسته به موتور M1 باشد مدار فرمان مناسب کدام است؟

1 ) 

2 ) 

3 ) 

4 ) 

پاسخ تشریحی :
نمایش پاسخ

اگر بخواهیم موتوری وابسته به موتور دیگر باشد باید از مدار یکی پس از دیگری استفاده کنیم یعنی تیغه باز موتور اول را بر سر راه بوبین کنتاکتور موتور دوم قرار دهیم این کار در گزینه (1) و (2) انجام شده است ولی در شکل گزینه 2 مدار نگهدارنده اشتباه حل شده است. بنابر این گزینه (1) صحیح است.

تحلیل ویدئویی تست

منتظریم اولین نفر تحلیلش کنه!